Welcome to the new IOA website! Please reset your password to access your account.

Design method of asphalt mixture with balanced noise reduction and mechanical properties Mingliang Li 1 , Minmin Yuan 2 , Jun Li 3 Research Institute of Highway Ministry of Transport Xitucheng Road No.8, Beijing, P. R. China Yingtao Li 4 , Wei Zhou 5 , Yaqun Zu 6 Jiangsu Expressway Maintenance Engineering Technology Co., Ltd. Tianyuan West Road No.168, Nanjing, P. R. China

ABSTRACT A design method of asphalt mixture is proposed for reducing the tyre/road noise while possessing good mechanical properties. Firstly, the target air voids contents are obtained by comparing the simulated sound absorption coefficient curve with noise-frequency curve from practical road surface. Then, models predicting the texture level and sound absorption coefficient based on the given mixture properties, such as porosity, gradation, particle size, asphalt content, etc. as inputs parameters, are applied to preliminarily select the design parameters of the mixture. Test samples are made according to these selected design parameters in the lab, while test vales of the texture level, sound absorption coefficient and the skid resistance of the mixtures are obtained from laboratory measurements. These measurement values are used for predicting the attenuation of the tyre/road levels by means of statistical models. Mixtures possessing superior-predicted noise reducing properties are selected for mechanical performance validation. Mixture design presenting the promising noise reducing properties and satisfying the mechanical performance requirement is considered as the optimal one, and is suggested to be used as the road surface. Road surface designed from this method can both meet the needs of traffic load and the function of noise reducing. 1. INTRODUCTION

Noise pollution, especially road traffic noise, is seriously affecting the physical and mental health, also the life quality of both the drivers and residents in the vicinity. Low noise pavements are widely used in European countries such as the Netherlands, where porous asphalt is adopted for noise reducing on more than 93% of the expressways. With the increased requirement for a better living environment, the impact of road traffic noise has attracted the attention in China year by year,

1 ml.li@rioh.cn 2 ccmmyuan@qq.com 3 Jun.li@ rioh.cn 4 21741667@qq.com 5 lygzhouw@126.com 6 1571052345@qq.com

21-24 auGUST Scortsi event Cas La inter.noise | ee 2022

especially in the construction of highways and urban roads adjacent to residential areas. Environmental noise is taken as an important evaluation indicator for the design and acceptance of highway engineering. At the same time, the latest version of the Law of China on Prevention and Control of Pollution from Environmental Noise , also clearly states the governmental advocacy and encouragement for innovative work on noise reducing.

In existing pavement design specifications, requirements of mechanical properties on the pavement and asphalt mixture are particularly clarified, but the methods of noise reducing design are not given. Considerable methods have been proposed by researchers for designing low-noise pavements, including the adoption of SPERoN and HyRoNE hybrid models for predicting noise reducing in asphalt pavements [1], or based on a number of indoor simulations from large equipment in acoustic chambers or normal sound level meters [2-6]. The predominant type of low-noise pavement is generally a porous asphalt pavement with an air voids content greater than 18% or a fine graded thin overlay [7, 8]. In order to effectively improve the noise reducing performance of the pavement, a separate procedure needs to be considered while designing the pavements. The effect of noise reducing is to be optimized or improved by reasonable structural combination, mixture design, application of new materials, etc..

The paper presents a design method towards the balance of noise reducing function and mechanical performance of pavements constructed with low-noise asphalt mixture with high voids contents (LNA-HVC) in China. The method is developed based on years of field investigations and data analyses, and the combination with existing asphalt pavement design methods, which guides the design of low-noise pavements in actual projects and serves as the tool for highway designers.

2. TERMS AND DEFINITIONS

The void connectivity is more than 0.5 when the designed voids content of the mixture reaches higher than 14% [9], and when the designed voids content is less than 14%, the proportion of connected voids is relatively small. Besides, the internal pores of the mixture are mainly closed, performing poor noise absorption. In this paper, LNA-HVC is defined as the open-graded or semi-open-graded asphalt mixtures with a skeleton-void structure formed by coarse aggregate, whose designed voids content is 14% or more after compaction.

In China, the following types of LNA-HVC pavement are commonly used: (1) Single layer LNA-HVC: whose surface layer thickness is generally between 40 and 50mm, and maximum particle size of the coarse aggregate is not greater than 13mm;

(2) Two-layer LNA-HVC: a double-layer structure consisting of an upper LNA-HVC layer with a small maximum aggregate size and a lower layer with a large aggregate size. The thickness of the upper layer is between 20 and 40mm, and that of the lower layer is between 35 and 60mm. The maximum particle size of coarse aggregate in the upper layer of the mixture is no larger than 13mm and the connected void ratio of both upper and lower layers is not less than 14%;

(3) Thin layer LNA-HVC: whose thickness is between 25 and 40mm, and maximum particle size of the coarse aggregate is not greater than 10mm;

(4) Ultra-thin layer LNA-HVC: whose thickness is between 15mm and 40mm, and the maximum particle size of the coarse aggregate of the mixture is not greater than 10mm. 3. STRUCTURE DESIGN

3.1 Measurement and analysis of tyre/road noise Before designing, the in-situ environmental noise test or evaluation results should be acquired according to different project types and environmental requirements, such as new construction, reconstruction and extension project, and maintenance project. Tyre/road noise testing should be carried out for reconstruction and extension projects, and maintenance projects on existing road surfaces using the close-proximity method (CPX) or statistical pass-by method (SPB). The one-third octave band of tyre/road noise sound pressure levels is plotted based on the test data, and

the peak noise levels on the noise spectrum curve and the spectrum range where the peak locates are observed.

3.2 Design procedure The design procedure of LNA-HVC is given as follows:

(1) Simulation of normal absorption coefficient curves It is appropriate to simulate the normal absorption coefficient curve for the design lane according to existing models, when different models, such as models developed by Losa [10], Kuijpers [11] and Li [12] etc., can be referred.

(2) Selection of structure parameters A group of surface parameters are selected by adjusting the parameters including air voids content, thickness, or maximum aggregate size, to draw the frequency of peak absorption coefficient of the simulated curve close to that of the tyre/road noise peak values. In general, a thin-layer LNA-HVC is better adapted with a lane for passenger cars, while a two-layer LNA-HVC shows promising absorption capacity for noise at low frequencies. Then, those surface properties, including the number of layers of LNA-HVC, thickness, voids content, or maximum aggregate size, are used as target design values in certain cases.

(3) Verification of the structure A structural analysis on the pavement is carried out using parameters selected. Generally, a standard procedure in a national or local specification such as Specifications for Design of Highway Asphalt Pavement (JTG D50) and Specifications for Maintenance Design of Highway Asphalt Pavement (JTG 5421) in China, is used for verifying the designed pavement structure. Designs passing the structural verification can be employed. The parameter selection and structure verification should be repeated until the pavement to be designed passes the verification. 4. MIXTURE DESIGN

4.1 Models for noise reducing prediction Mixture design should take into account the balance of noise reducing function and the mechanical performance, since special test conditions, such as sound absorption chamber and trial track, are required for laboratory simulation of tyre/road noise, making it difficult to organize these measurements in a construction project. In this research, the noise reducing value of LNA-HVC is preliminarily predicted based on statistical models, and provides references for mixture design. These models are developed based on massive data collections on LNA-HVC pavement in China and reference database found in the literatures. The models are constantly improved with the increase of data volume. Two types of models are correspondingly set up. Model I is used for predicting the difference values of CPX levels between LNA-HVC and the reference surface SMA-13 from the input material properties, while Model 2 is for evaluating the noise difference values by giving measured surface characteristic parameters, such as texture levels or sound absorption peaks. In practice, tyre/road noise predictions can also be made using other validated modelling methods.

Examples of the two models for predicting CPX noise levels at 80km/h are given: (1) The first prediction model, Model 1: For single or two-layer LNA-HVC, it is:

ΔL A,eq = -5.5+0.35MS+0.04CA+0.02FA -0.25BC -0.06VC-0.06 h , R 2 =0.86 (1) Where, MS refers to the maximum particle size of the aggregate, mm; CA, coarse aggregate content, whose particle size is no smaller than 4.75 mm, %; FA, fine aggregate content, whose particle size is between 0.075 and 2.36 mm, %; and BC, asphalt content by mass of mixture, %; For two-layer LNA-HVC, these four parameters above are only for the upper layer. Besides, VC denotes the design voids content, %, i.e., the average of the design voids content of the upper and bottom layers for two-layer LNA-HVC; and h is the layer thickness, mm, and for two-layer LNA-HVC, it is the total thickness of two layers.

For thin or ultra-thin large void asphalt mixes, the first tyre/road noise prediction model is:

ΔL A,eq = -40.0+0.64MS+0.52CA+0.35FA-0.12 VC -0.34 h , R 2 =0.93 (2) (2) The second prediction model, Model 2: For single or two-layer LNA-HVC, it is:

ΔL A,eq = -16.9+0.35 TL 63 -0.08 TL 1 -1. 79α max,1 -2. 45α max,2 R 2 =0.86 (3) Where, TL 63 refers to the texture level for a 63mm texture wavelength of the upper layer mixture, dB; TL 1 , texture level for a 1mm texture wavelength of the upper layer mixture, dB; α max,1 , first peak value of the normal absorption coefficient; and α max,2 , second peak of the normal absorption coefficient, which equals 0 if there is no second peak on the curve of the absorption coefficient.

For thin or ultra-thin large void asphalt mixes, the second tyre/road noise prediction model is:

ΔL A,eq = -16.9+0. 36TL 63 -0.08 TL 1 -1. 79α max, R 2 =0.87 (4) Where, α max denotes the peak normal absorption coefficient.

4.2 Mixture design procedure The flow chart of the LNA-HVC design is shown in Figure.1 and the detailed procedure is described as follows:

(1) Preliminary selection of mixture parameter combinations based on Model 1

Candidate parameter values can be acquired based on the target voids content or other variables obtained from 3.2, according to normal mixture design standards or methods. In China, the design of porous asphalt can be referred to “ Technical Specifications for Design and Construction of Porous Asphalt Pavement” (JTG/T 3350-03), where several groups of candidate mixture parameters, including MS, CA, FA, BC shown in Eq. (1) or Eq. (2), can be given. The VC can also be changed, and the variation range is generally between VC-1% and VC+1%.

Then, the candidate mixture parameter combination is input into Model 1 to predict the noise reducing values. At least two combinations of the parameters exhibiting greater noise reducing levels are selected.

(2) Surface characteristic measurements

Surface texture levels, sound absorption and skid resistance of the mixtures are selected according to the alternative mixture parameters based on Model 1. Mixtures of the LNA-HVC are prepared in the laboratory, and plate specimens with a size at least 300mm × 300mm or 500mm × 700mm are prepared for measurements. The measuring methods are as follows:

a. Surface texture test: the surface texture is tested by laser scanning, when the TL 63 and TL 1 are obtained.

b. Normal absorption coefficient test: the normal absorption coefficient can be measured using impedance tube method [13, 14] and the particle pressure-velocity (P-U) method [15], when the peak sound absorption coefficient and the frequency corresponding to the peak are obtained.

c. Skid resistance test: the slip resistance test is carried out using British Pendulum Tester (BPT) for pavement friction coefficient.

(3) Selection of mixture parameter combinations based on Model 2

For specimens whose skid resistance meets the safety design requirements, the surface characteristics will be used for predicting noise reducing levels based on Model 2. The required texture levels and peak sound absorption values will be input into Model 2, when the noise reducing values of the different mixes will be achieved and ranked. Mixture exhibiting the best noise reducing values will be forwarded for mechanical performance verification.

(4) Verification of mechanical performance

The best combination of alternative parameter values with the highest noise reducing value is used for preparing the mixture and verifying the mechanical performances. The technical requirements for the mechanical performance should refer to the current Technical Specification for Construction of Asphalt Pavements (JTG F40) in China. The mixture design set meeting the mechanical performance requirements in the specification will be the final results. However, if the requirements cannot be met, other mixtures are used for mechanical performance verification according to the ranking of noise prediction values in Model 2. If all the alternative combinations fail to meet the performance requirements, the reasons of the failure will be analyzed, the design parameters will be adjusted and the mixture will be re-designed until the requirements are met.

(1) Mixture Selection based ‘on Model 1 Inputs: '* LNA-HVC ype, layer numbers, thickness of each layer. ‘© Design voids content, Maximum agaregate size, course and fine aggregate content, binder content, le Predictions values of | noise reduction of different mixtures; fe Selection of mixture due to the predictions. HH i i 7 Surface tere Carer —)) Specimen preparation: ‘Measurements: ions, @) Surface ‘+ Mixture production according tothe design| | Texture; ‘= Sound absorption ‘Characteristic parameters selected by Model 1; im ee coetficie Measurements | |, specimen size: 300mm300mm or coefficient; —— re Ly ceteris, satisfy the requirement oft 7 500mm700n cee rt ~ pa ‘Predictions values of noise (3) Mixture (1) Surface texture (Zt,x or MPD, ete.) « reduction of different Selection based | | (2) sound absorption coefficients Lasdlahal ‘on Model 2 |. Ren jet Input values ae fom the measurement in Recing of ieee —s mixtures. I J Decision Makin ma (4) Verification) Mixture production and mechanical 4 I ‘of Mechanical | measurements according o national or local based on the ataneed Nolte i ‘measurement reduction an Performance | specification of asphalt mixtures ae Pechenical stoperies

Figure 1: Design procedure of LNA-HVC. 5. CASE STUDY

This example illustrates the design procedure for the noise reducing function design of LNA-HVC described in this paper, with a maintenance project of expressway in Jiangsu Province in China considered.

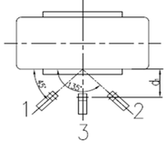
5.1 CPX measurement The CPX method was used to detect the tyre/road noise of the existing pavement, and to obtain the A-weighted noise equivalent sound pressure level spectrum curve. The speed of the vehicle used for the test was 80km/h, and the vehicle was driven at a constant speed during the test. Both the passenger car tyre (P1) and the heavy vehicle (H1) were adopted in the tests. Tyre/road noise signals were collected from the three sensors settled beside the tyre, as shown in Figure. 2. Example of measurement results on the SMA-13 pavement are presented in Figure 3, where the peak noise level of H1 is generally greater than that of P1. High noise levels for both types of tyre were found to mainly range between 630Hz and 1000Hz.

Figure 2: CPX trailer and setting of the sensors.

(a) P1 tyre (b) H1 tyre

Figure 3: Noise level spectrum from CPX measurements.

5.2. Structure design A theoretical model of the sound absorption coefficient of the porous pavement is developed based on the method provided in Ref. [11], and the spectral curves of the absorption coefficient corresponding to the described different sets of pavement parameters are plotted. A group of parameters with peak sound absorption coefficient close to the peak noise levels are shown in Figure. 4. Those combinations should be within the range of conventional pavement design parameters. In this case, wearing course with a thickness of 50mm and connected voids content (CVC) of 17.5% is selected as the design target. When using this surface as an overlay on the existing pavement for maintenance, the structure can meet the requirements of the increasing travelling pressure in the future. The description of the calculation process is omitted here.

AUNT

(a) CVC=17.5% (b) h =40mm

Figure 4: Sound absorption coefficients based on prediction.

5.3. Mixture design

(1) Mixture selection based on Model 1

Different combinations of design parameters are selected according to the 17.5% target voids content and 50mm thickness, as shown in Table 1. Model 1 is used to obtain the predicted noise reducing values for different mixtures. As shown in the table, the noise reducing effect is better than 13 mm when using an aggregate with a maximum size of 10 mm, and the noise reducing effect of a pavement with a thickness of 35 mm is better than that with a thickness of 30 mm. Therefore, the top three designs, i.e., D.1, D.3, and D.5, are selected for further investigation in this example, according to the ranking of the noise reducing effect.

Table 1: Mixture designs and prediction by Model 1.

No. MS (mm)

CA (%)

FA (%)

BC (%)

VC (%)

h (mm)

ΔL A,eq (dB(A))

D.1 10 82 10 4.76 21.5 50 -4.00 D.2 13 78 10 4.58 21 50 -3.04 D.3 10 82 10 4.76 21.5 50 -4.00 D.4 10 85 5 4.58 21.5 50 -3.94 D.5 10 80 12 4.76 21.5 50 -4.04 (2) Surface characteristic measurement

Mixtures are prepared in the laboratory and plate specimens with a size 300 mm × 300 mm are fabricated in accordance with the three sets of alternative parameter combinations selected based on Model 1. For each mixture type, three plates are made with the same mixture. The P-U method is used to test the sound absorption coefficient of the plate; the 3D laser scanning, the texture level; and the BPT, the skid resistance performance of the plate. Main parameters and indicators are shown in Table 2.

(3) Mixture selection based on Model 2

The obtained surface characteristics from the tests are used for predicting the noise attenuation effect based on Model 2. As shown in Table 2, the predicted noise reducing effect of D.3 and D.5 are the same, both better than that of D.1. However, the BPN of D.3 is higher in comparison with that of D.5. The design D.3 is therefore chosen for the validation.

Table 2: Measurement results and prediction by Model 2.

No. α max,1 L 63 (dB)

L 1 (dB) BPN ΔL A,eq (dB(A)) D.1 0.73 51.1 41.1 59 -3.61 D.3 0.77 50.2 40.2 60 -3.92 D.5 0.7 49.8 40 57 -3.92 (4) Verification of the mechanical performance of the mixture

Mixture is prepared according to the design of D.3. The mixture performance verification is carried out in accordance with Technical Specifications for Design and Construction of Porous Asphalt Pavement (JTG/T 3350-03). High viscosity modified asphalt (HVMA) [16] is used as binder for LNA-HVC according to the specification. The mixture is proven to meet the requirements of the standards, and D.3 is therefore chosen as the final choice of the LNA-HVC mixture design.

Table 3: Verification of the road performance of the mixture.

Performance Test results Requirements

Marshall stability (kN) 7.22 ≥5.0 Residual Mashall stability

percentage (%) 90.4 ≥85

Standard raveling loss percentage by Cantabro test

5.6 ≤15

(%)

Immersion raveling loss percentage by Cantabro test

7.3 ≤20

(%)

Residual Freeze-thaw split

tensile strength ratio (%) 95.7 ≥80

Dynamic stability (times/mm) 6574 ≥6000

6. CONCLUSIONS AND RECOMMENDATIONS

A design method for balancing the noise reducing function and mechanical properties of low noise asphalt pavement with high voids content is provided through both structural design and mixture design in this paper, which matters considerably in case of carrying out functional design of asphalt pavements for noise reducing in practical engineering. At present, noise reduction is mainly evaluated in the laboratory with the surface characteristics and based on the model predictions. Besides, the design method will be further verified and improved in conjunction with the tests results of low-noise pavement sections. Economy and construction feasibility should also be considered in the design of low-noise pavements. The statistical model established in this paper is generally consistent with practical noise conditions, and will be continually refined based on data updating.

7. REFERENCES

1. Klein, P., Beckenbauer, T., Hamet, J. F., & Kropp, W. Tyre/road noise prediction: a comparison

between the SPERoN and HyRoNE models part 2. The Journal of the Acoustical Society of America , 123(5) , 3389 (2008). 2. Chen, D., Ling, C., Wang, T., Su, Q., & Ye, A. Prediction of tire-pavement noise of porous

asphalt mixture based on mixture surface texture level and distributions. Construction and Building Material s, 173 , 801-810(2018). 3. Smit, A., Trevino, M., Garcia, Z., Buddhavarapu, P., & Prozzi, J. Selection and design of quiet

pavement surfaces. Report No. FHWA/TX-16/0-6819-1 , Austin, TX, USA, 2016. 4. Kleiziene, R., Šernas, O., Vaitkus A. & Simanaviciene, R. Asphalt pavement acoustic

performance model. Sustainability . 11 . 2938(2019). 5. Lai, F., Huang, Z., & Guo, F. Noise reduction characteristics of macroporous asphalt pavement

based on a weighted sound pressure level sensor. Materials , 14(16) , 4356(2021). 6. Hammer, E., & Bühlmann, E. A guideline for sustainable low noise pavements. International

Conference on Sounds and Vibration, 2017. 7. Bendtsen, H.& Gspan, K. State of the art in managing road traffic noise: noise-reducing

pavements. Technical Report 2017-01, Conference of European Directors of Roads , January, 2017. 8. Ongel, A., Kohler, E., Nelson, J., Acoustical Absorption of Open-Graded, Gap-Graded, and

Dense-Graded Asphalt Pavements. Research Report No. UCPRC-RR-2007-12 , California Department of Transportation: Sacramento, CA, USA, 2007. 9. Li, M., van Keulen, W., van de Ven, M., Molenaar, A. & Tang, T. Investigation on Material

Properties and Surface Characteristics related to Tyre–Road Noise for Thin Layer Surfacings. Construction & Building Materials , 59(3) , 62-71(2014). 10. Losa, M. & Leandri, P. A comprehensive model to predict acoustic absorption factor of

porous mixes. Materials and Structures , 45(6) , 1-18(2012). 11. Kuijpers, A. & Blokland, G. Modelling and optimization of two-layer porous asphalt roads.

Proceedings of INTER-NOISE 2000 . 2002. Nice, France. 12. Li, M., Xu, B., Cao, D., Fan, Y. & Ping, S. Investigation and modeling of sound absorption

properties of thin layer wearing course, Journal of Testing & Evaluation , 46(1) , 46-54(2018). 13. Seybert, A.F., & Han, J. Measurement of pavement absorption using iso 13472-2. The Journal

of the Acoustical Society of America, 123(5) , 3686(2008). 14. Bohatkiewicz, J., Hałucha, M., D ę bi ń ski, M.K., Jukowski, M. & Tabor, Z. Investigation of

acoustic properties of different types of low-noise road surfacers under in situ and laboratory conditions. Materials, 15 , 480(2022). 15. Li, M., van Keulen, W., Tijs, E., van de Ven, M. & Molenaar, A. Sound absorption

measurement of road surface with in situ technology. Applied Acoustics, 88 , 12-21(2015). 16. Li, M., Zeng, F., Xu, R., Cao, D., & Li, J.. Study on compatibility and rheological properties of

high-viscosity modified asphalt prepared from low-grade asphalt. Materials , 12(22) (2019).